1¼-20 lb Halon 1211 Models
344, A344T, 352, A352, C352TS, 354, A354, A354TS, C354, 355, A355, B355T, 369, B369, 371, 372
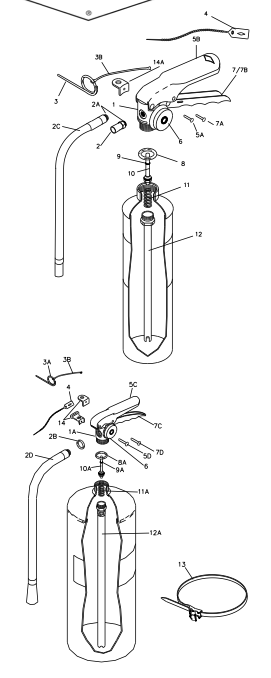
| Fig No | Description | Part No |
| 1 | Valve Assembly - All Aluminum Models | 11953 |
| 1A | Valve Assembly - All Brass Models | 11954 |
| 2 | Nozzle w/O-Ring - 344, 344T, A344T (.067) | 06066 |
| Nozzle w/O-Ring - 355T, A/B355T (.144) | 01727 | |
| 2A | Hose/Nozzle Gasket (O-Ring) - Aluminum Valve | 01532 |
| 2B | Hose Gasket (O-Ring) | 06978 |
| 2C | Hose & Horn Assembly - A354, A354A, C354A (.098) | 06421 |
| 2D | Hose & Horn Assembly - 369, B369 (.216) | 05180 |
| Hose & Horn Assembly - 371, B371 (.234) | 05178 | |
| Hose & Horn Assembly - 361 (.152) | 05176 | |
| Hose & Horn Assembly - 372 (.177) | 05174 | |
| 3 | Ring Pin | 01412 |
| Ring Pin - 1 lb, 2½ lb | 16353 | |
| 3A | Ring Pin, Stainless Steel | 00160 |
| 3B | Chain (Nylon) for Ring Pin | 00532 |
| 4 | Lockwire Seal (Yellow) | 01387 |
| 5A | Rivet Only for Lever | 01060 |
| 5B | Lever & Rivet | 02625 |
| 5C | Lever & Rivet - Brass Valve | 07762 |
| 5D | Rivet Only for Lever - Brass Valve | 01563 |
| 6 | Gauge - 100 psi - 344, 344T, A344T | 04839 |
| Gauge - 125 psi - 352T, A/C352T, C352TS, 355T, A/B355T | 03105 | |
| Gauge - 195 psi - 354A, A/C354A, 361, 369, B369, 371, B371, 372 | 03106 | |
| 7 | Handle & Rivet - Brass Valve | 11826 |
| 7A | Rivet Only for Handle - Old & "A/B" Valve | 01064 |
| 7B | Handle & Rivet - 344, 344T | 09001 |
| Handle & Rivet - Old Valve 352T, A354A, 355T | 09002 | |
| 7C | Handle & Rivet - Brass Valve | 09020 |
| 7D | Rivets for Handle (2 Required) - Brass Valve | 01564 |
| 8 | Collar O-Ring - Aluminum Valve | 05241 |
| 8A | Collar O-Ring | 05240 |
| 9 | Valve Stem O-Ring | 05235 |
| 9A | Valve Stem O-Ring - Brass Valve | 05243 |
| 10 | Valve Stem Assembly - Aluminum Valve | 06092 |
| 10A | Valve Stem Assembly - Brass Valve | 06093 |
| 11 | Spring - All Aluminum Valve | 01074 |
| 11A | Spring - All Brass Valve | 00383 |
| 12 | Downtube/Retainer Assembly - 344, 344T, A344T | 06069 |
| Downtube/Retainer Assembly - 352T, 354A, A/C352T, C352TS, A/C354T | 01075 | |
| Downtube/Retainer Assembly - 355T, A/B355T | 06212 | |
| 12A | Downtube/Retainer Assembly - 369, B369 | 03754 |
| Downtube/Retainer Assembly - 371, B371 | 02609 | |
| Downtube/Retainer Assembly - 361, 372 | 01667 | |
| 13 | Strap & Clip Assembly (Black Plastic) 3/8" Hose - 354, A/C354 | 17207 |
| Strap & Clip Assembly (Black Plastic) ½" Hose - 361, 369, B369, 371, B371, 372 | 14778 | |
| 14 | Hanger Loop with Screw - B371 | 15363 |
| Hanger Loop with Screw - B369, 361, 372 | 16694 | |
| 14A | Hanger Loop with Screw - Aluminum Valve | 14220 |
For bracket information, view the Amerex Bracket page.
For fill and hydrotest adapters, view the Amerex Adapter page. All valve assemblies include valve body, gauge, lever, and handle.
Since 1999, Fire Safety Supply has been the go-to for fire suppression products, industrial dry chemical systems, high and low-pressure CO2, vehicles, and clean agents. We serve various types of industries such as restaurants, commercial kitchen, wineries, and more.
