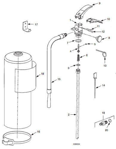
| Fig No | Description | Part No |
| -- | Valve Assembly | 429083 |
| 1 | Valve Body, Machined | 428062 |
| 2 | Tube, Pick-Up | 428795 |
| 3 | O-Ring (Pick-up Tube) | 076076 |
| 4 | Valv Stem Assembly | 429099 |
| 5 | O-Ring | 11873 |
| 6 | Spring | 415565 |
| 7 | O-Ring | 428327 |
| 8 | Gauge, Pressure | 56776 |
| 9 | Lever, Operating | 429096 |
| 10 | Handle, Carrying | 429097 |
| 11 | Rivet, Operating Lever | 428130 |
| 12 | Rivet, Carrying Handle | 428130 |
| 13 | Pull Pin (Ring Pin) | 16235 |
| 14 | Seal, Visual Inspection | 025940 |
| 15 | Nozzle Tip Assembly, A02, A02VB | 428269 |
| 15 | Nozzle Tip Assembly, C02VB | 428270 |
| 16 | Hanger Hook, A02 | 021873 |
| 17 | Bracket Assembly, A02VB, C02VB | 024610 |
| 18 | Nameplate, Replacement w/o UL/ULC | |
| 19 | Adaptor Assembly, Recharge | 429642 |
| 20 | O-Ring | 57744 |

|
Fig
No
|
Description | Part No |
| -- | Valve Assembly, SY-0212, 0214 | 24953 |
| -- | Valve Assembly SY-0215 | 68194 |
| -- | Valve Assembly, SY-0216, 0236 | 70223 |
| 1 | Valve Body, Machined, SY-0212, 0214, 0215 | 32575 |
| 1 | Valve Body, Machined, SY-0216, 0236 | 79117 |
| 2 | Tube, Pick-Up, SY-0212, 0214 | 21892 |
| 2 | Tube, Pick-Up, SY-0215 | 68186 |
| 2 | Tube, Pick-Up, SY-0216, 0236 | 79123 |
| 3 | Valve Stem Assembly (Metal) | 054227 |
| 4 | O-Ring | 011873 |
| 5 | Spring | 25702 |
| 6 | Quad Ring | 79122 |
| 7 | Gauge, Pressure | 056776 |
| 8 | Lever, Operating, Aluminum | 68169 |
| 9 | Handle, Carrying, Aluminum | 79119 |
| 10 | Rivet, Operating Lever, Aluminum | 25719 |
| 11 | Rivet, Carrying Handle, Aluminum | 25720 |
| 12 | Pull Pin (Ring Pin) | 16235 |
| 13 | Seal, Visual Inspection | 025940 |
| 14 | Nozzle Tip Assembly, SY-0212, 0214, 0215 | 27099 |
| 14 | Nozzle Tip Assembly, SY-0216 | 27099 |
| 14 | Nozzle Tip Assembly, SY-0236 | 78117 |
| 15 | O-Ring, Nozzle | 16047 |
| 16 | Hanger Hook, Except SY-0212, 0214 | 021873 |
| 17 | Bracket Assembly, Except SY-0215 | 024610 |
| 17 | Bracket Assembly, SY-0215 | 68309 |
| 18 | Nameplate, Oper & Maint w/o UL/ULC | |
| 19 | Adaptor Assembly, Recharge | 25743 |
| 20 | O-Ring | 25791 |
| -- | Inspection Record Tag (Not Shown) | 2364 |

|
Fig
No
|
Description | Part No |
| 1 | Valve Assembly, SY-0513, 0514 | N/A |
| 1 | Valve Assembly, SY-0515 | N/A |
| 1 | Valve Assembly, SY-0516, 0517, 0521, 0531 | N/A |
| 2 | Valve Body, Machined, SY-0513, 0514, 0613, 0614, 0623, 0624, 0633, 0635 | N/A |
| 2 | Valve Body, Machined, SY-0515 | N/A |
| 2 | Valve Body, Machined, SY-0516, 0517, 0521, 0531 | N/A |
| 3 | Tube, Pick-Up, SY-0513, 0514 | N/A |
| 3 | Tube, Pick-Up, SY-0515 | N/A |
| 3 | Tube, Pick-Up, SY-0516, 0517, 0521, 0531 | N/A |
| 4 | Valve Stem Assembly (Metal), SY-0513, 0514, 0613, 0614, 0623, 0624 | 24489 |
| 4 | Valve Stem Assembly (Metal), SY-0516, 0517, 0521, 0531 | 415202 |
| 4 | Valve Stem Assembly (Metal), SY-0515, 0633, 0635 | 54227 |
| 5 | O-Ring (All) | 11873 |
| 6 | Spring, SY-0513, 0514, 0613, 0614, 0623, 0624 | 29256 |
| 6 | Spring, SY-0515, 0633, 0635 | 25702 |
| 6 | Spring, SY-0516, 0517, 0521, 0531 | 415565 |
| 7 | O-Ring, SY-0513, 0514, 0613, 0614, 0623, 0624 | 16222 |
| 7 | O-Ring, All Models Except SY-0513, 0514 | 79122 |
| 8 | Gauge, Pressure | 56776 |
| 9 | Lever, Operating (Aluminum), SY-0513, 0514 | 31793 |
| 9 | Lever, Operating (Aluminum), All Models Except SY-0513, 0514 | 68169 |
| 10 | Handle, Carrying (Aluminum), SY-0513, 0514 | N/A |
| 10 | Handle, Carrying (Aluminum), All Models Except SY-0513, 0514 | 79119 |
| 11 | Rivet, Operating Lever (Aluminum), SY-0513, 0514 | 17050 |
| 11 | Rivet, Operating Lever (Aluminum), All Models Except SY-0513, 0514 | 25719 |
| 12 | Rivet, Carrying Handle (Aluminum), SY-0513, 0514 | 17050 |
| 12 | Rivet, Carrying Handle (Aluminum), All Models Except SY-0513, 0514 | 25720 |
| 13 | Pull Pin (Ring Pin) | 16235 |
| 14 | Seal, Visual Inspection | 25940 |
| 15 | Nozzle Tip Assembly, SY-0513, 0514 | N/A |
| 15 | Nozzle Tip Assembly, SY-0515 w/o Hose | 54444 |
| 16 | O-Ring, Nozzle, SY-0515 w/o Hose | 16047 |
| 17 | Hose & Nozzle Assembly, SY-0515 | N/A |
| 17 | Hose & Nozzle Assembly, SY-0516 | N/A |
| 17 | Hose & Nozzle Assembly, SY-0517 | N/A |
| 17 | Hose & Nozzle Assembly, SY-0521 | N/A |
| 17 | Hose & Nozzle Assembly, SY-0531 | N/A |
| 18 | Hanger Hook, SY-0513, 0514 | 16819 |
| 18 | Hanger Hook, All Models Except SY-0513, 0514 | 54405 |
| 18 | Hanger Hook, SY-0614, 0623, 0624, 0633, 0635 | 16819 |
| 19 | Bracket Assembly, SY-0513, 0514 (while supplies last) | 31025 |
| 19 | Bracket Assembly, SY-0515 | 54160 |
| 19 | Bracket Assembly, SY-0516, 0517, 0521, 0531 | 415824 |
| 20 | Nameplate, Operation & Maintenance w/o UL | |
| 21 | Adaptor Assembly, Recharge, SY-0513, 0514 | N/A |
| 21 | Adaptor Assembly, Recharge, SY-0516, 0517, 0521, 0531 | 415894 |
| 22 | O-Ring, SY-0513, 0514 | 6263 |
| 22 | O-Ring, SY-0515 | 25791 |
| 22 | O-Ring, SY-0516, 0517, 0521, 0531 | 28451 |
| 23 | Hose and Clip Assembly, All Models Except SY-0513, 0514 | 427995 |
| 24 | Locking Cable, All Models Except SY-0513, 0514, 0613, 0614, 0623, 0624 | 30636 |
| 25 | Clip, All Models Except SY-0513, 0514 | 427995 |
| -- | Inspection Record Tag (Not Shown) | 2364 |

|
Part
No
|
Description
|
Part No |
| -- | Valve Assembly, 10 lb Models Except SY-1015 | N/A |
| -- | Valve Assembly, SY-1015 | N/A |
| -- | Valve Assembly, 20 lb Models | N/A |
| 1 | Valve Body, Machined | N/A |
| 2 | Tube, Pick-Up, 10lb Models Except SY-1015 | N/A |
| 2 | Tube, Pick-Up, SY-1015 | N/A |
| 2 | Tube, Pick-Up, 20 lb Models | N/A |
| 3 | Valve Stem Assembly (Metal) | 24489 |
| 4 | O-Ring | 11873 |
| 5 | Spring | 29256 |
| 6 | Quad Ring | 16222 |
| 7 | Gauge, Pressure | 56776 |
| 8 | Lever, Operating | 31793 |
| 9 | Handle, Carrying | 78087 |
| 10 | Rivet, Operating Lever | 17050 |
| 11 | Rivet, Carrying Handle | 17050 |
| 12 | Pull Pin (Ring Pin) | 16235 |
| 13 | Seal, Visual Inspection | 25940 |
| 14 | Hose & Nozzle Assembly, SY-1013, 1014, 1015,1033, 1034 | 30615 |
| 14 | Hose & Nozzle Assy, SY-1023, 1024 | 30616 |
| 14 | Hose & Nozzle Assy, SY-2033, 2034 | 30617 |
| 14 | Hose & Nozzle Assy, SY-2023, 2024 | 30618 |
| 14 | Hose & Nozzle Assy, SY-2013, 2014 | 417510 |
| 15 | Hose Clip | 427995 |
| 16 | Locking Cable, 10 lb Models | 30636 |
| 16 | Locking Cable, 20 lb Models | 30935 |
| 17 | Hanger Hook, 10 lb Models except SY-1015 | 25298 |
| 17 | Hanger Hook, SY-1015 | 16819 |
| 17 | Hanger Hook, 20 lb Models | 30643 |
| 18 | Nameplate, Oper & Maint w/o UL | |
| 19 | Adaptor Assembly, Recharge | 16246 |
| 20 | O-Ring | 6263 |
| 21 | O-Ring, Pick-Up Tube (Post 2/98) | 423822 |
| -- | Inspection Record Tag (Not Shown) | 2364 |
|
Fig
No
|
Description | Part No |
| -- | Valve Assembly | 429084 |
| 1 | Valve Bofy, Machined | 428062 |
| 2 | Tube, Pick-Up | 428796 |
| 3 | O-Ring (Pick-Up Tube) | 76076 |
| 4 | Valve Stem Assembly | 429099 |
| 5 | O-Ring | 11873 |
| 6 | Spring | 415565 |
| 7 | O-Ring | 428327 |
| 8 | Gauge, Pressure | 56776 |
| 9 | Lever, Operating | 429096 |
| 10 | Handle, Carrying | 429097 |
| 11 | Rivet, Operating Lever | 428130 |
| 12 | Rivet, Carrying Handle | 428130 |
| 13 | Pull Pin (Ring Pin) | 16235 |
| 14 | Seal, Visual Inspection | 25940 |
| 15 | Hose & Nozzle Assy, A05 | 428728 |
| 15 | Hose & Nozzle Assy, AA05, AA05VB | 428729 |
| 15 | Hose & Nozzle Assy, PK05 | 428730 |
| 15 | Hose & Nozzle Assy, C05 | 428731 |
| 16 | Hanger Hook, AA05, PK05, A05, C05 | 54404 |
| 17 | Bracket Assembly AA05VB, A05VB | 429146 |
| 18 | Nameplate, Replacement w/o UL/ULC | |
| 19 | Adaptor Assembly, Recharge | 429642 |
| 20 | O-Ring | 57744 |
| 21 | Hose Retainer, AA05, PK05, A05, C05 | 427995 |
| Fig No | Description | Part No |
| -- | Valve Assembly, 10 lb Models except A10T | 429085 |
| -- | Valve Assembly, A10T | 429086 |
| -- | Valve Assembly, 20 lb Models | 429087 |
| 1 | Valve Body, Machined | 428062 |
| 2 | Tube, Pick-Up, 10lb Models except A10T | 428797 |
| 2 | Tube, Pick-Up, A10T | 428798 |
| 2 | Tube, Pick-Up, 20 lb Models | 428799 |
| 3 | O-Ring (Pick-up Tube) | 76076 |
| 4 | Valve Stem Assembly | 429099 |
| 5 | O-Ring | 11873 |
| 6 | Spring | 415565 |
| 7 | O-Ring | 428327 |
| 8 | Gauge, Pressure | 56776 |
| 9 | Lever, Operating | 429096 |
| 10 | Handle, Carrying | 429097 |
| 11 | Rivet, Operating Lever | 428130 |
| 12 | Rivet, Carrying Handle | 428130 |
| 13 | Pull Pin (Ring Pin) | 16235 |
| 14 | Seal, Visual Inspection | 25940 |
| 15 | Hose & Nozzle Assy, A10T, A10H, C10 | 428732 |
| 15 | Hose & Nozzle Assembly, PK10 | 428734 |
| 15 | Hose & Nozzle Assembly, AA20 | 428736 |
| 15 | Hose & Nozzle Assembly, PK20 | 428738 |
| 15 | Hose & Nozzle Assembly, C20 | 428740 |
| 16 | Hose Retainer | 427995 |
| 17 | Hanger Hook | 428223 |
| 17 | Hanger Hook (A10T) | 428222 |
| 17 | Hanger Hook (AA20) | 428224 |
| 18 | Nameplate, Oper & Maint w/o UL/ULC | |
| 19 | Adaptor Assembly, Recharge | 429642 |
| 20 | O-Ring | 57744 |
Since 1999, Fire Safety Supply has been the go-to for fire suppression products, industrial dry chemical systems, high and low-pressure CO2, vehicles, and clean agents. We serve various types of industries such as restaurants, commercial kitchen, wineries, and more.