Select the model you would like to see by clicking one of the following links, or scroll through the page to see all of the parts images.
125/150 lb Dry Chemical Stored Pressure Wheeled/Stationary »
Extinguisher Models »
50 lb Wheeled Stored Pressure Dry Chemical Extinguisher Models
125/150 lb Dry Chemical Stored Pressure Wheeled/Stationary Extinguisher Models
| Fig No | Description | Part No |
| 1 | Valve Assembly Complete w/Downtube | 05197 |
| 2 | Downtube/Retainer Assembly | 04938 |
| 3 | Fill Cap | 09300 |
| 4 | Gasket, Fill Cap | 08392 |
| 5 | Carriage Assembly w/o Wheels, New Style | 10431 |
| 6 | Hose Support w/Mounting Hardware - New Style | 10439 |
| 7 | Cylinder | 10467 |
| 8 | Pictogram - 488, 476 | 07481 |
| Pictogram - 489, 490, 477, 478 | 07483 | |
| 9 | Wheel Assembly 16" w/Hub Cap, Washer & Retaining Pin (Semi-Pneumatic) | 07751 |
| 10 | Hub Cap | 04945 |
| 11 | Valve Lever w/Screws | 06059 |
| 12 | Gauge Guard Assembly | 03562 |
| 13 | Gauge - 240 psi | 05225 |
| 14 | Ring Pin, Stainless Steel w/Wire | 06100 |
| 15 | Pressure Valve & Cap Assembly | 00155 |
| 16 | Lock Wire Seal (Yellow) | 01387 |
| 17 | Valve Body | 03678 |
| 18 | Cam Assembly w/O-Rings | 06060 |
| 19 | Pipe Plug - for Safety Disc Port | 14218 |
| Safety Dis Assembly (Optional) | 03787 | |
| 20 | Collar O-Ring | 05239 |
| 21 | Valve Stem Assembly | 05067 |
| 22 | Spring | 03556 |
| 23 | Hose Assembly 50 ft w/Gasket | 03501 |
| 24 | Gasket, Hose & Nozzle | 03877 |
| 25 | Ball Valve Assembly | 06279 |
| 26 | Nozzle Assembly (Ball Valve & Tip) - 488, 489, 476, 477 | 05191 |
| Nozzle Assembly (Ball Valve & Tip) - 490, 478 | 07432 | |
| 27 | Nozzle Tip - 488, 489, 476, 477 (.344) | 06470 |
| Nozzle Tip - 490, 478 (.328) | 06208 |
For fill and hydrotest adapters, view the Amerex Adapter page.
Replacement valve assemblies include valve body, gauge, gauge guard, cam, pressure valve and cap, lever, valve stem assembly, spring, and downtube/retainer assembly.
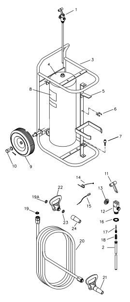
50 lb Wheeled Stored Pressure Dry Chemical Extinguisher Models
| Fig No | Description | Part No |
| 1 | Valve Assembly Complete w/Downtube | 06018 |
| 2 | Downtube/Retainer Assembly | 06072 |
| 3 | Carriage Assembly w/o Wheels | 06625 |
| 4 | Pressure Valve & Cap Assembly (Older Models Only) | 00155 |
| 5 | Hose Support w/Hardware, Hose Clip & Nozzle Mount | 06374 |
| 6 | Hose Clip w/Mounting Hardware | 06375 |
| 7 | Nozzle Mount w/Hardware | 06376 |
| 8 | Pictogram - 495, 473 | 07480 |
| Pictogram - 496, 497, 474, 475 | 07482 | |
| 9 | Wheel Assembly 12½" w/Hun Cap, Washer & Retaining Pin | 06377 |
| 10 | Hub Cap | 04945 |
| 11 | Valve Lever ("T" Handle - Complete) | 06373 |
| 12 | Valve body | 06153 |
| 13 | Gauge - 240 psi | 05225 |
| 14 | Ring Pin, Stainless Steel w/Wire | 06100 |
| 15 | Lock Wire Seal (Yellow) | 01387 |
| 16 | Collar O-Ring | 05240 |
| 17 | Valve Stem Assembly | 06022 |
| 18 | Spring | 00383 |
| 19 | Gasket, Hose | 07247 |
| 20A | Gasket, Valve | 06056 |
| 20 | Hose Assembly 25 ft w/Gasket | 06015 |
| 21 | Nozzle Assembly (Ball Valve & Tip) - 495, 473 | 06397 |
| Nozzle Assembly (Ball Valve & Tip) - 496, 474 | 06395 | |
| Nozzle Assembly (Ball Valve & Tip) - 497, 475 | 06396 | |
| 22 | Ball Valve Assembly | 06031 |
| 23 | Gasket, Nozzle | 03877 |
| 24 | Nozzle Tip - 495, 473 (.328) | 06208 |
| Nozzle Tip - 496, 474 (.265) | 06032 | |
| Nozzle Tip - 497, 475 (.281) | 06210 |
For fill and hydrotest adapters, view the Amerex Adapter page.
Replacement valve assemblies include valve body, gauge, lever valve stem assembly, and spring and handle.
Since 1999, Fire Safety Supply has been the go-to for fire suppression products, industrial dry chemical systems, high and low-pressure CO2, vehicles, and clean agents. We serve various types of industries such as restaurants, commercial kitchen, wineries, and more.


